ロングネックボール
- φ1
- DLC
- 2枚刃
- 超硬合金
VDLCLB2010-040
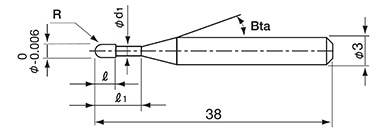
≪2枚刃ロングネックボール≫ Φ3シャンク-全長38㎜
銅電極加工用。
徹底したコスト戦略により、お求めやすい価格を実現。
銅電極加工用。
徹底したコスト戦略により、お求めやすい価格を実現。
対応被削材 (◎→○→△ の順に推奨)
|
炭素鋼 S45C S55C |
合金鋼 SK/SCM SUS |
プリハードン鋼 NAK HPM |
焼入れ鋼 | 鋳鉄 | アルミ合金 | グラファイト | 銅 | 樹脂 |
ガラス入り 樹脂 |
チタン合金 | 超耐熱合金 | 超硬合金 | 硬脆材 | ||||
|---|---|---|---|---|---|---|---|---|---|---|---|---|---|---|---|---|---|
| ~50HRC | ~55HRC | ~60HRC | ~65HRC | ~70HRC | |||||||||||||
| 〇 | ◎ | ||||||||||||||||
工具情報
寸法単位 [mm]
| 製品写真 |
|
|---|---|
| 工具形状 | ロングネックボール |
| 製品コード | 2080025 |
| 型番 | VDLCLB2010-040 |
| ボールR(R) | R0.5 |
| 刃長(ℓ) | 0.8 |
| 有効長(ℓ) | 4 |
| 全長(L) | 38 |
| シャンク径(φd) | 3 |
| コーティング | DLC |
| 刃数 | 2 |
| 工具材種 | 超硬合金 |
| 希望小売価格 | ¥2,900 |
| 販売価格 | ¥1,914 |
| 溝長 | 0.8 |
|---|---|
| 先端角 | - |
| 首径(φd) | 0.97 |
| ねじれ角 | 30 |
| シャンクテーパ角(Bta) | 11° |
| 有効シャンク長(H) | - |
| 大端径 | - |
| シャンクテーパ形状 | - |
